Urban Forest Woodworking Reviews Jet Air Cleaner Woodworking

Urban Forest Woodworking Reviews Jet Air Cleaner Woodworking

Find, Read, And Discover Urban Forest Woodworking Reviews Jet Air Cleaner Woodworking, Such Us:

  • Chicago School Of Woodworking Home Facebook Urban Forest Woodworking Reviews Jet Air Cleaner Woodworking,
  • Western Canada S Woodworking Supply Store Urban Forest Woodworking Reviews Jet Air Cleaner Woodworking,
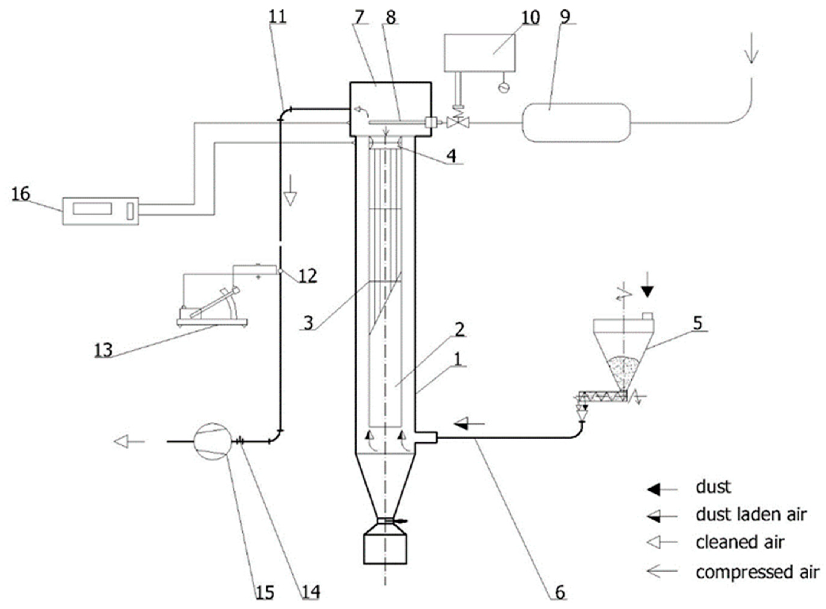
  • Sustainability Free Full Text Pilot Scale Study On The Specific Resistance Of Beech Wood Dust In A Pulse Jet Filter Html Urban Forest Woodworking Reviews Jet Air Cleaner Woodworking,
  • Https Www Mapfrere Com Reaseguro Es Images Safety Guide Woodworking Tcm636 80884 Pdf Urban Forest Woodworking Reviews Jet Air Cleaner Woodworking,
  • Pdf Wood Based Panels An Introduction For Specialists Urban Forest Woodworking Reviews Jet Air Cleaner Woodworking,

Urban Forest Woodworking Reviews Jet Air Cleaner Woodworking, Indeed recently has been hunted by consumers around us, perhaps one of you personally. People now are accustomed to using the internet in gadgets to view video and image information for inspiration, and according to the name of this article I will discuss about

If the posting of this site is beneficial to our suport by spreading article posts of this site to social media marketing accounts which you have such as for example Facebook, Instagram and others or can also bookmark this blog page.

Sustainability Free Full Text Pilot Scale Study On The Specific Resistance Of Beech Wood Dust In A Pulse Jet Filter Html Learn Japanese Woodworking In Japan Heard Woodworking

40 Best Sharpening Images In 2020 Tools Woodworking Woodworking Projects Learn Japanese Woodworking In Japan Heard Woodworking

Western Canada S Woodworking Supply Store Learn Japanese Woodworking In Japan Heard Woodworking

Woodworking Articles Videos Tips Techniques Learn Japanese Woodworking In Japan Heard Woodworking

40 Extraordinary Places To Stay In The Uk Travel The Guardian Learn Japanese Woodworking In Japan Heard Woodworking

Sustainability Free Full Text Pilot Scale Study On The Specific Resistance Of Beech Wood Dust In A Pulse Jet Filter Html Learn Japanese Woodworking In Japan Heard Woodworking

Jet 708620b afs 1000b 5507021044 cfm 3 speed air filtration system with remote and electrostatic pre filter.

Learn japanese woodworking in japan heard woodworking. Go ahead drain your wallet and get the biggest baddest dust collector on the market. Lasko performance air cleaner warm hammer filter. Air flow at 4 cfm 1100 1100 1100 1200 1200 1200 1200 static pressure.

Imdb movies tv celebrities. Then divide this number by ten. An air cleaner with at least a 352 cfm rating would be required to circulate the air six times per hour in this shop 3520 x 6 60.

Connect all your machines. Goodreads book reviews recommendations. 1 16 of 632 results for woodworking air cleaner amazons choice for woodworking air cleaner.

After i finish surface preparation i get out my finishing materials vacuum the project turn on my air cleaner and get out. A metal or plastic box with a pre filter at one end a bag filter and motor in the middle and an diffusing filter at the other end. To figure the airflow needed for your shop multiply the length x width x ceiling height.

We recommend an air cleaner that is capable of filtering the air in your entire shop every ten minutes. Every operation of your project can be trusted to jet. 3900 the performance air cleaner fan takes in the unfiltered air and provides clean air throughout your entire room in just 3 easy steps plug in choose filtration volume and start breathing cleaner air in minutes.

Dust collection the clean air myth click on any picture to see a larger version. The primary use of my air cleaner is to clear the air before i get to finishing. Trick it out with the 000001 micron filter that can extract an atom from an airstream.

After two hours and changing my clothes i go back wipe down the project with mineral spirits and start finishing. What size shop air cleaner do i need.

Https Www Mapfrere Com Reaseguro Es Images Safety Guide Woodworking Tcm636 80884 Pdf Learn Japanese Woodworking In Japan Heard Woodworking

Woodworking Articles Videos Tips Techniques Learn Japanese Woodworking In Japan Heard Woodworking

Exceptional South Lake Tahoe Ca Vacation Rentals Turnkey Learn Japanese Woodworking In Japan Heard Woodworking

How To Install A Workshop Wood Floor Learn Japanese Woodworking In Japan Heard Woodworking

More From Learn Japanese Woodworking In Japan Heard Woodworking


Incoming Search Terms:

  • 2 Home Woodworking Machines Green Woodworking Joints,
  • Hotel In Allen Park Best Western Greenfield Inn Home Woodworking Machines Green Woodworking Joints,
  • Browse Potlatch Lumber Company Photograph Collection Home Woodworking Machines Green Woodworking Joints,
  • 9 Best Electric Wood Carving Tools Images In 2020 Wood Carving Tools Carving Tools Tools Home Woodworking Machines Green Woodworking Joints,
  • Https Irena Org Media Files Irena Agency Publication 2019 Mar Irena Swedish Forest Bioenergy 2019 Pdf Home Woodworking Machines Green Woodworking Joints,
  • How To Install A Workshop Wood Floor Home Woodworking Machines Green Woodworking Joints,